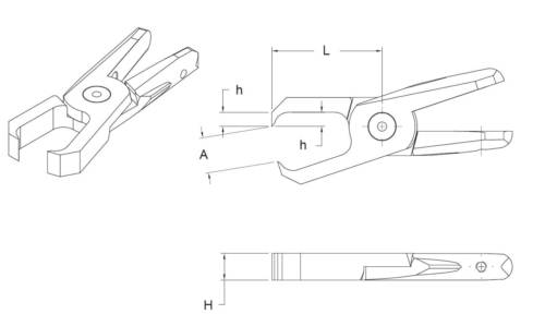
Long Perpedicular End Cut

5258

5258

Mouldpro nippers are top quality and perform reliably.

The nipper body housings are made of aluminum, and are lighter than comparable Nile® or OEM® nippers. 

Mouldpro nippers have two available input ports for compressed air. Use one while the other is plugged.

Mouldpro nippers also have bottom mounting holes for mounting possibilities in addition to body clamps.